地址:江西省上高县科技工业园区(320国道旁)
电话:0796-2606955
传真:0796-2606510
邮编:336400
详细内容
(1) 橡胶履带的使用温度一般在—25~+55℃间。
(2) 化学药品、机油、海水的盐份会加快履带的老化,在这样的环境下使用后要清洗履带。
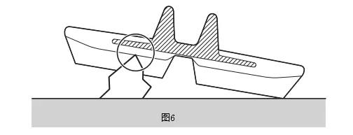
(3) 有锐利突起(如钢筋、石块等)的路面会导致橡胶履带外伤。(图6)

(4) 道路的边石、车辙或凹凸不平的路面会导致履带边缘接地侧花纹产生裂纹,这种裂纹未伤及钢丝帘线时可以继续使用。(图7)

(5) 砂砾、碎石路面会造成与承重轮接触的橡胶表面早期磨损,形成小裂口。严重时水份侵入,造成芯铁脱落、钢丝断裂。
资讯